70/70x3
zártszelvény

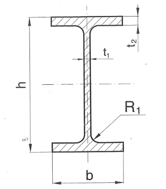
geometria
szélesség (b)::
70 mm
falvastagság (v)::
3 mm
sarok kerekítés (r)::
3 mm
sarok kerekítés (R)::
6 mm
keresztmetszet területe (A)::
9,25 cm2
térfogat
szelvény térfogata (1m)::
7850 m3/m
súlyponti távolság (ex)::
7,26 cm
súlyponti távolság (ey)::
43,56 cm
#REF!
szelvény súlya (1m)::
137,74 kg/m
felület
szelvény felülete (1m)::
0,27 m2/m
szelvény felülete (1t)::
0,251 m2/t
szelvény külső felülete (1m)::
37,15 m2/m
szelvény belső felülete (1m)::
34,55 m2/m
statika
inercia sugár (ix)::
0,0049 cm
inercia sugár (iy)::
0,675 cm
szelvény belső felülete (1t)::
56,06 m2/t
szelvény szumma felülete (1t)::
56,06 m2/t
#REF!
Inercia* (Ix)::
16,02 cm4
Inercia* (Iy)::
2,46 cm4
keresztmetszeti tényező (Wx)::
2,46 cm3
egyéb
szelvény térfogata (1t)::
S235
#REF!
acél sűrűsége (ρ)::
MSZ 7328-81